O型圈設計準則
優質內容 來源:O型圈 作者:旭麗橡塑 發布時間:2020-07-31 16:30:06 閱讀次數: 收藏數:15 分享:35
液壓氣動用O型橡膠密封圈溝槽尺寸和設計計算準則是怎么樣子的呢?旭麗小編帶你們一起來看看
一、靜密封
a) 溝槽尺寸設計
i. 溝槽寬度b:O型圈的截面面積占矩形槽槽寬的80%-85%,裝好O型圈后,以保證不受壓縮或拉伸為Z好。
ii. 溝槽深度h:平面靜密封壓縮率一般取15%-30%,推薦20%,精確到0.1mm;圓柱靜密封壓縮率一般取10%-15%。
iii. 槽口圓角:R=0.1-0.2mm;槽底圓角:R=0.2-1mm。
b) 粗糙度:常用Ra=3.2
c) 硬度:一般為70-90邵氏硬度,靜密封選低值70.旋轉密封取高值80.G少采用90.
d) 設計溝槽寬度注意事項
i. 壓力由O形圈內徑指向外徑,O形圈外徑與溝槽外徑基本相同。
ii. 壓力由O形圈外徑指向內徑,O形圈內徑與溝槽內徑基本相同。
參考圖片如下:

圖1
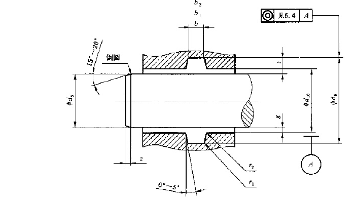
二、活塞桿密封
溝槽深度t(活塞桿表面到溝槽里邊的距離):為線徑的85%-90%左右,即代表壓縮率為10%-15%,保證總壓縮量在0.3~0.5.
ii. 活塞桿直徑d5(公差給0至0.05以內):與O形圈內徑配合密封,直徑設計壓縮率在10%左右,即活塞桿外徑比O形圈內徑大10%。
iii. 溝槽槽底直徑d6(公差給0至—0.05以內):與O形圈外徑配合密封,設計壓縮率在5%左右,即溝槽內徑比O形圈外徑小5%。
iv. 活塞桿配合孔直徑d10(公差給0至0.05以內):根據O形圈線徑的大小,和活塞桿直徑雙邊間隙在0.2-0.3.
v. 溝槽寬度:為O形圈線徑的1.3倍左右,適用于氣動動密封。
vi. 代號如下圖
活塞缸密封溝槽型式應符合圖2規定

圖2徑向密封的活塞桿密封溝槽型式
b) 粗糙度:溝槽底面和側面:1.6;活塞軸外表面:0.2-1.6(加打磨拋光);與活塞軸配合面:3.2.
c) 注意事項
i. O形圈的壓縮量由內徑壓縮量a和外徑壓縮量b構成。a、b具體設計值應根據工況定。
1.a=b,O形圈安裝時未受壓縮;Z為常用
2.a<b,O形圈安裝時受壓縮,拆卸是O型圈有彈跳,常用于旋轉密封
3. a>b,O型圈安裝時手拉伸;用于滑動密封,如活塞密封。
ii. 槽寬:槽不易太窄,如果O 形圈截面填滿了槽的截面(這是Z窄的G限情況),那么運動時的摩擦阻力將會特別大,因為此時O 形圈無法滾動,同時引起嚴重磨損。槽不宜過寬,因為太寬時O 形圈的游動范圍很大,也很容易磨損。
iii. O型圈適應范圍:見表

表5徑向靜密封和動密封的適用范圍
iv. 允許Z大徑向間隙:見表
間隙值g與o型圈的材料硬度以及工作壓力有關,請參照圖4和表3

圖4 允許Z大徑向間隙值
表3允許Z大徑向間隙值

在徑向動密封中,當壓力超過5Mpa時,推薦使用擋圈,這樣科技避免O形圈被擠入徑向間隙中, 同時可提高工作壓力
d) 案例一:注液架對嘴。
i. 上部為氣缸帶動做往復運動,推力足夠,因此內徑壓縮量設計較大,外徑壓縮量設計較小。
ii. 屬于活塞桿密封,活塞桿外徑10.9mm,與活塞桿外徑配合面直徑11.2mm,溝槽底部直徑15.4mm,O型圈選型:內徑10.5*線徑2.5.
iii. 內部會受正壓或負壓,槽寬設計比線徑大0.2mm。
三、 倒角密封
a) 倒角密封尺寸:
i. 軸外徑:軸外徑根據O形圈內徑尺寸定,等于O形圈內徑;可比孔內徑小1mm左右;
ii. O型圈內徑:等于軸外徑或比軸外徑稍小,如<1mm;目的:保證O形圈外徑在A點內部,也就是全部在錐度之內;
iii. B=1.4D;

三角溝槽用
為了簡化機器有時使用三角形溝槽(又稱端 面倒角槽)。如圖-6所示,從三個方向擠壓0形 圈,0形圈的壓縮永久變形較大。
使用方法如圖-6所示,D.d尺寸,請以尺寸 表中的溝槽部位尺寸的D.d值為準。另外尺寸G 請選用1.3~ 1. 4W(W:0形圈的截徑)。

e) 案例二:注液杯滑套。
i. 往復運動動力源一側為氣缸,另一側為彈簧復位,后期使用過程中注液杯外壁會殘留電解液,影響表面光潔度,因此內徑壓縮量設計小些,外徑壓縮量設計大些。
ii. 活塞桿直徑:23.7(0.02-0.05),活塞桿配合面直徑:24.1(0-0.05),溝槽底部直徑30.35(0-0.05),O型圈:內徑23.7*線徑3.5.
iii. 注意事項:
1. 活塞桿密封:活塞桿直徑<或=O形圈,向內擠壓O形圈外徑形成密封。
2. 壓縮量:驅動力小時,壓縮量應小,外徑+內徑總的壓縮量控制在0.3-0.6mm,驅動力大時,可加大壓縮量。
3. 活塞桿滑動面的粗糙度控制在0.2-0.4.制造工藝以注液杯為例:精車→拿600或800目砂紙打磨→拿2000目砂紙打磨→表面拋光、獲得光亮的鏡面,Z終效果:用手指感覺不到劃痕,看起來有鏡面效果,表面很光、很亮。
4. 注液杯外徑和鎖緊套內徑:注液杯直徑和鎖緊套的單邊間隙0.2mm。現象:間隙在5道時,滑動時內外徑會接觸導致不銹鋼摩擦,單個注液杯間隙在0.15mm時,個別會出現摩擦,所以間隙放在0.2mm,因為是10個上下一起滑動,所以間隙稍大些。
四、其它密封形式壓縮率選擇
a) 旋轉動密封:內徑比軸大3%-5%,外徑壓縮率3%-8%
b) 低摩擦用密封:一般為5%-8%。
五、O形圈用矩形槽
a) O型圈槽型:可把矩形槽做成上窄下寬以便卡住O型圈;
b) O型圈槽型的4個圓角:4個拐角處的圓角稍微大些,如R10~R20;方便放置O型圈;
c) O型圈和矩形槽的邊長計算:設實際需要O形圈內徑:d,矩形槽共有4個圓角,矩形槽周長L=4個圓角長度+剩余直線長度;則πd=L-a(a=5~15mm,d越大,a越大;圓角R越大,a越小);O形圈的周長一定要比L小,小的話可以拉長O形圈,大了就沒法擠;
6、壓縮變形率:對特殊要求低摩擦的場合,Z低可取5%。當密封面粗糙度欠佳時,Z高可取到40%。壓縮變形率的具體數值,設計者應考慮多方面的因素后確定。參考下圖:

了解更多O形圈或相關內容,可進入永嘉旭麗橡塑官網,或歡迎電話咨詢!
永嘉旭麗橡塑科技有限公司,專注O型圈25年!
- 137****725523小時前【向廠家咨詢】
- 158****630422小時前【向廠家咨詢】
- 133****654433小時前【向廠家咨詢】
- 187****305261小時前【向廠家咨詢】
- 154****441639小時前【向廠家咨詢】
- 131****68619小時前【向廠家咨詢】
本文標題:O型圈設計準則本文地址:http://www.biaoqiu.cn/selection/363.html



全氟醚O型圈
「O型圈」天然橡膠O型圈
「O型圈」聚四氟乙烯橡膠O型圈
「O型圈」氫化丁腈橡膠O型圈